欢迎来到素材无忧网,按 + 收藏我们
登录 注册 退出 找回密码

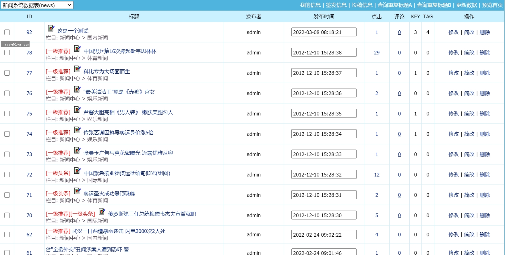
帝国CMS后台管理列表增加显示关键词和TAG数量

时间: 2024-02-25 09:24 阅读: 作者:素材无忧网

本次修改改造是在后台管理信息的列表显示关键词和TAG数量,鼠标移入显示具体词!方便一些站长小伙伴更直观的查看数据!

本次修改针对帝国CMS7.5版本!其他版本可以参考修改文档,但是不能直接使用素材无忧提供的修改后文件!

截图如下:

帝国CMS后台管理列表增加显示关键词和TAG数量

帝国CMS后台管理列表增加显示关键词和TAG数量

帝国CMS后台管理列表增加显示关键词和TAG数量

插件具体获取方式和安装方法如下:

文章加载中..

版权声明: 本站资源均来自互联网或会员发布,如果侵犯了您的权益请与我们联系,我们将在24小时内删除!谢谢!

转载请注明: 帝国CMS后台管理列表增加显示关键词和TAG数量

模板推荐