由于帝国CMS后台没有增加会员的功能,所以做了此教程!请有需要的小伙伴备份文件然后测试修改!后台手动增加会员的功能 具体修改了两个文件,AddMember.php和ListMember.php(在e/a...
忘记后台管理员帐号怎么办? 用phpmyadmin查看phome_enewsuser表里的记录:查看username字段的内容. 忘记后台登陆密码怎么办? 用phpmyadmin修改phome_enewsuser表里的记录:把password字段的内容改为:“322d3fef02fc39...
问题如题,表示友情链接加的数量多了之后.管理越来不太方便,因为一面只显示十几个.几个链接需要来回翻页,并且也不能使用查询.所以想问下前辈们,是否可以在哪里修改显示数量,直接显示全部的友情链接,从而方便管理.求指...
帝国CMS后台登录显示登录成功后,马上跳转显示您还未登录。出现此问题是目录权限问题/e/data/adminlogin 目录权限不可写导致,请将此目录权限设置为777权限即可解决...
前段时间有个群友在群内发了个后台样式,被另一个群友“发现了”!感觉很不错,让我帮忙给“弄”一份!好吧,我给原样做了个。但是群友呀群友,你跑哪里去了。真心找不到你了!共享了吧!...
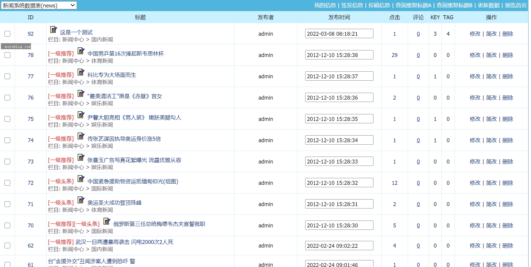
本次修改改造是在后台管理信息的列表显示关键词和TAG数量,鼠标移入显示具体词!方便一些站长小伙伴更直观的查看数据!本次修改针对帝国CMS7.5版本!其他版本可以参考修改文档,但是...
帝国CMS内容录入的时候有的小伙伴会调用作者标签:[!--writer--],也有的会调用发布者标签[!--username--],那么我们就可以加个判断来实现:如果录入了作者就显示作者,如果没有录入就显示发布者。...
?phpif($navinfor[ismember]==1){?前台会员发布?php}else{?后台管理员发布?php}?2、判断会员和游客发布文章?phpif($navinfor[userid]){?会员发...
很多小伙伴问墨鱼这个问题:帝国CMS后台TAG管理中的清理多余tags信息有什么用?解答如下:执行的页面:/e/admin/tags/ClearTags.php功能:遍历tags数据表 enewstagsdata,每次取一条信...
帝国CMS清空前台数据相关教程已经有了,请参考https://www.moyublog.com/notes/1052.html,今天我们讲解下如何清空管理员后台登录、管理员操作以及管理员登录失败的记录!(注意执...
问:后台-用户-会员管理-管理会员(模板)中调用会员真实姓名答:修改 \e\admin\member\ListMember.php 文件在ListMember.php文件中查找以下代码(很好找的,往下拉一下进度条,就找到了)...
此方法主要用于帝国CMS模板制作中一些特殊显示方式,例如显示此篇文章是否是前台投稿,是否是会员发布等情况!1、判断文章是前台投稿还是后台发布?phpif($navinfor[ismember]==1...
小伙伴在日常维护管理帝国CMS后台的时候会用到此功能!此功能无需去数据库修改用户评论内容,直接后台管理评论的地方点 修改,会弹出修改界面,直接修改即可!截图如下:此次修改一个文...
帝国CMS网站运营中,很多小伙伴使用了点卡充值方法来给客户充值点数或者会员组权限。这个功能是非常方便一般站长运营的,但是问题就是不能查看某个点卡的使用情况,比如谁用了,什...
业务需求:很多小伙伴由于种种原因关闭了帝国CMS前台注册会员功能,但是又有增加会员的需求,然而帝国CMS并不具备后台直接增加会员的功能,只能来回开关前台注册来实现,这显然有点麻...